聚通化工安全云平台 V2.0.0
5.0分
- 本游戏:官方版安全无广告需网络
- 标签: 聚通化工安全云平台 双重预防机制 移动办公管理
- 更新时间:2026-03-24 06:29:56
聚通化工安全云平台是一款面向化工厂的数字办公管理手机应用,整合了双重预防机制、特殊作业管理、设备维护、安全教育培训等多元办公模块,借助风险等级分类达成精准化管理,帮助工厂更高效地排查与处理安全隐患,并且支持移动化办公模式,便于用户不受时间地点限制地处理各类安全相关事务。
聚通化工安全云平台怎么用?
1、安装软件后打开,点击同意并继续隐私政策。
2、进入平台后,需输入统一社会信用代码,完成该操作后,即可开启线上办公模式。
软件功能:
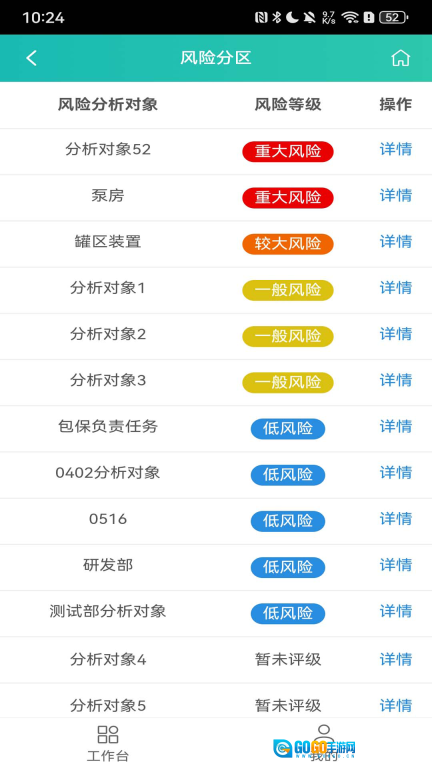
1、运用双重预防机制,把工厂设备的安全风险划分成不同等级,使风险状况清晰明了,方便开展针对性的处置工作。
2、可实时监测设备的故障与异常情况,并及时发出报警信号,助力用户在第一时间察觉并处置隐患问题,从而有效降低安全事故发生的风险。
3、实现特殊作业全流程覆盖管理,涵盖动火、受限空间、高处作业等多种作业类型,通过规范作业流程,有效提升作业安全水平。
软件亮点:
1、全面贴合化工厂实际需求,覆盖隐患排查、设备管理、教育培训等多个环节,能够满足全业务流程的办公需要,具有很强的实用性。
2、达成高效办公目标,借助隐患任务的集中化管理、报修流程的简化等举措,能明显提升安全隐患处置与设备维修的效率。
3、支持移动办公模式,用户能够摆脱时间与地点的束缚,随时随地处理各项业务,进而增强工作的灵活性并提升响应效率。
软件优势:
1、支持隐患上报以及隐患任务的集中管理,助力对各类隐患问题进行跟踪与处理。
2、可发起设备维修申请并生成维修工单,还具备设备点检、保养、报废等功能。
3、针对特殊作业开展安全教育培训课程,通过观看视频学习专业知识,以此提升安全操作技能。
软件特色:
1、对安全风险实施分区划分,直观呈现各区域的风险等级,以便清晰把握不同区域的安全态势。
2、把所有办公应用整合到工作台进行统一管理,这样能让大家更快速地找到和使用各项功能,进一步提高操作的便捷程度。
3、针对特殊作业的施工计划制定、作业实施等各个环节开展全流程管理与控制,保障作业严格遵循安全规范要求,有效减少操作过程中的各类风险。
详细信息
- 文件大小:55.5MB
- 当前版本:V2.0.0














